Sony patenta un mando capaz de transmitir frío y calor

Cualquier día me muerde el mando de la Play. Todavía recuerdo la primera vez que sentí la vibración del Pad en mis manos. No es que haya pasado tanto tiempo, pero ya sabéis que los avances tecnológicos corren que se las pelan.
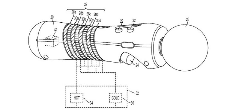
Lo último de Sony es un controlador que se calienta o se enfría a requerimiento del juego. La compañía ha registrado en la oficina de patentes una variante del PS Move con estas nuevas funcionalidades. Ahora resta por ver si efectivamente se deciden a comercializar el invento.
La implementación es fácil y en cierto modo llama la atención el hecho de que a nadie se le haya ocurrido antes -o tal vez sí que se le ha ocurrido a alguien, pero no han considerado rentable la idea-. Se basa en incorporar una resistencia al mando capaz de calentar o enfriar el controlador, y así transmitir una sensación térmica al jugador.
Al tiempo que varía su temperatura, también lo hace su color. Al enfriarse adquiere tonos azulados y al calentarse, rojizos. Esto no es nada nuevo, todos tenemos un grifo en casa. Pero, ¿a que no se te había ocurrido su aplicación al mundo de los videojuegos?
Sony quiere dejarte helado... o hacerte arder
Por supuesto, ahora que conocemos el ingenio, no es difícil imaginar posibles aplicaciones. Además de las obvias, como transmitir frío o calor en función del escenario por el que nos movamos (quizás en medio de una ardiente explosión o un lago casi congelado), el mando podría emular el calentamiento de una pistola al ser disparada, o tal vez ayudarnos a detectar objetos no visibles en nuestro entorno en función de su temperatura.
Las posibilidades son muchas, Sony incluso se atreve a proponer que el mando sea utilizado de la forma más práctica posible por aquellos gamers frioleros: sencillamente para calentarse las manos. Eso sí, no te dejes encendido el aparato encima del sofá.
Lo que está claro es que Sony no deja de innovar y eso es una gran noticia. ¿Qué será lo próximo? ¿Videojuegos capaces de generar olores? En esta revolución de los sentidos, el oído y la vista están más que cubiertos, parece que el tacto es la próxima frontera, ¿cuál será la siguiente?
Vía | Kotaku
Página Oficial | Sony
Más sobre Sony en Juegos.es
[...] de componentes que están siendo desarrollados por Sony, como un magnetómetro -que ya vimos en otra patente de la compañía- soporte para vibración, o un altavoz para poder emitir audio desde el propio controlador.Por los [...]